Blow molding technology originated in the 1930s. After years of development, it has developed into the third-largest plastic processing method after injection and extrusion. Compared with injection molding, blow molding technology provides products at a similar unit cost. However, molding and tooling for this technology is generally cheaper than it is for injection molding . Blow molding technology is widely applied to hollow products, various product packaging, soft materials industry and toys, automobile manufacturing, and other industries. This article mainly introduces 3 kinds of blow molding, they are injection stretch blow molding, injection blow molding and extrusion blow molding.
-
1. Injection Stretch Blow Molding
At present, injection stretch blow molding technology is more widely used than injection blow molding. Injection stretch blow molding increases axial stretch, which makes blow molding easier and reduces energy consumption. The volume of products that can be processed by injection blow molding is larger than that of injection blow molding. This method is used mostly in forming containers with a volume between 0.2~20L. The working process is as follows:
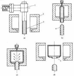
① First comes the injection of the parison (rod shaped plastic raw material), the principle is the same as an ordinary injection molding workflow;
② Then transfer the parison to be heated and follow a temperature adjustment process to make the parison soft;
③ Transfer to the stretch and blow station and close the mold. The push rod in the core stretches the parison in the axial direction while blowing air into it to make the parison close to the mold wall and then cool down the material;
④ Demould and take out
-
2. EXTRUSION Blow Molding
Extrusion blow molding is the most widely used method in blow molding. It can be applied in a wide range of processes, from small products to large containers and auto parts, aerospace chemical products, etc. The process to do extrusion blow molding is as follows:
① First melt and mix the polymer, and the melted material enters the machine head to become the tube condition parison;
②After the parison reaches the predetermined length, the blow mold is closed and the parison is sandwiched between the two mold halves;
③Blow air into the parison to make it close to the mold cavity;
④Cool the material;
⑤ Open the mold and remove the formed object.

-
3. INJECTION Blow Molding
Injection blow molding is a molding method that combines injection molding and blow molding. It is currently mainly used in beverage bottles and medicine bottles that require high blowing accuracy and some small structural parts like grooves and ridges. The working process is as follows:
① Use the normal injection method to inject the parison first
② The mandrel (think about it as a popsicle stick that keeps the parison in position) and parison are moved to the blow molding station.
③ The mandrel sandwiches the parison between the blow mold sections and the mold is closed. Then, compressed air is blown into the parison through the middle of the mandrel, inflated to make it form around the mold wall, and cooled down.
④ After demolding, the mandrel is transferred to the injection station for another run.
Whether it is injection blow molding, injection stretch blow molding, or extrusion blow molding, it is divided into one-shot molding and double-shot molding methods. The one-shot molding method has a high degree of automation, and the clamping and indexing system of the parison requires high precision and equipment cost. Generally, most manufacturers in China use the double-shot molding, that is, the parison is molded by injection or extrusion, and then the parison is put into another machine (injection blower or injection stretch blower) to blow out the finished product.
---------------------------------------------
Nexpcb, we accelerate IoT innovations into great global businesses
Posted by Jenny Zhang

